Statement:
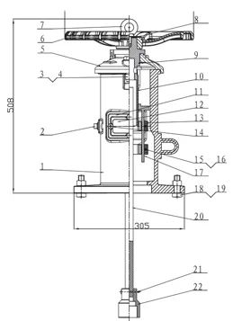
Walindicalor post provides a means to operale a vave instaled
behind a wal and able toindicalethe open or shut posiion of the vave.
Coating:
Fusion Bonded Epoxy Coating in accordance with ANSI/AWWA C550

The feed water under differential pressure enters the pressure vessel from the feed end of the NF membrane. Through the penetration of the membrane surface, impurities such as suspended solids, colloids, bacteria, viruses, pigments, hardness, and high valent ions are separated from the feed water. The permeate then enters the center tube in the middle of NF membrane elements. Meanwhile, the retained concentrate flows out through the concentrate tube at the end of the pressure vessel and then enters the next pressure vessel for further permeation, partial recycling, or treatment as wastewater.
Here are product catalogue and data sheet for your reference. more information just contact us.